Early US Navy RATT Equipment
1940's & early 1950's

"Military Teletypewriter Systems of World War II" - pdf link

RATT Receiving Equipment

FRA  - 400 kc IF input frequency shift converter - for use with RBB and RBC rcvrs

FRA Spec sheets

 FRA (CRV-35122) manual is NAVSHIPS 900,613
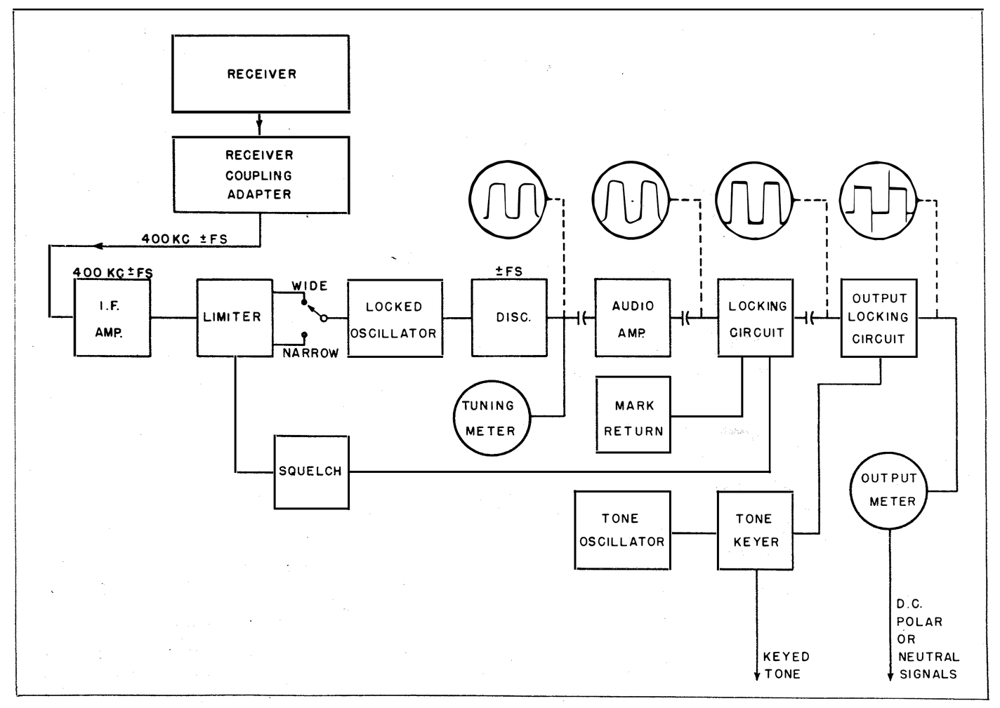
 info in NAVPERS 10190-A (ET2 training manual vol. 1)

General description from manual

 

fra-11.JPG (1919264 bytes)  

fra-block-01.jpg (243794 bytes)

CRV-10563 couples FRA  
 demod to RBB or RBC rcvr IF
fra-02.jpg (71104 bytes)
fra_4074.JPG (2024515 bytes) fra_4019.JPG (2194021 bytes) fra_4060.JPG (2191790 bytes) fra_4062.JPG (2304827 bytes)
fra_4065.JPG (3230280 bytes) fra_4068.JPG (3602855 bytes) fra_4063.JPG (4041180 bytes) fra_4069.JPG (957941 bytes)

FRB - AFSK Facsimile Converter - Spec Sheets

FRC  - audio input dual diversity frequency shift converter - for use with RBP rcvr

FRC spec sheets

FRC-1 includes CHG-50212A mixer, CHG-20345A keyer, CHG-53215A filter
Manual is NAVSHIPS 900,718

frc1-1911-03.jpg (988518 bytes) frc1-1911-01.jpg (18359 bytes) frc1-1911-02.jpg (372847 bytes)

FRE  - 455 kc IF input triple diversity frequency shift converter  - for use with RDM rcvr

FRE spec sheets

FRE (CRV-35104) manual is NAVSHIPS 95100

General description from manual

fre-11.JPG (1943295 bytes) -

FRF  - 400kc-470kc IF input dual channel frequency shift converter - for use with RBB, RBC, or RDM rcvrs

FRF spec sheets

FRF consists of CW-35118 converter, CW-35117 osc, CW-20457 p/s
Manual is NAVSHIPS 900,208

frf-101.JPG (137498 bytes) frf-102.JPG (138927 bytes) frf-1402-04.jpg (417152 bytes)
frf-1402-03.jpg (494734 bytes) frf-1402-08.jpg (320349 bytes) frf-1402-09.jpg (322457 bytes) frf-1402-06.jpg (337471 bytes)
frf-1402-05.jpg (371100 bytes) frf-1805-04.jpg (711818 bytes) frf-1805-06.jpg (828559 bytes) frf-1805-07.jpg (750046 bytes)
frf-20200408_152310.jpg (960896 bytes) frf-20200408_152221.jpg (691147 bytes) frf-20200408_152200.jpg (911963 bytes) frf-20200408_152338.jpg (4661587 bytes)
frf-20200408_152205.jpg (4167156 bytes) frf-20200408_152320.jpg (1091149 bytes) == ==

FRG - audio input frequency shift converter - for use with RBB, RBC receivers

Manufactured by Press Wireless

Spec Sheets

General description from manual

frg-11.JPG (887657 bytes) -

FRH  50kc IF input dual channel frequency shift converter  - for use with RBP or RCP rcvrs

Sames as FRF with different IF input

FRH spec sheets

FRH consist of CW-35119 converter, CW-35117 osc, CW-20457 p/s
Manual is NAVSHIPS 900,358

frh-1911-01.jpg (1071694 bytes) ==

FSC - audio input dual frequency shift converter
 - for use with RBP

Built by Washington Navy Yard
includes RW-20340 power/keyer, RW-50212 mixer, & RW-53215 filter
Manual is NAVSHIPS 900,078

general description from manual

fsc-01.JPG (221029 bytes) --

RTTY Transmitting Equipment

FSA - frequency shift keyer

FSA spec sheets

 mixes 200 kc FSK signal with xmtr oscillator input 
 1.0 to 6.7 mc, 2w output to xmtr
 FSA (CW-35060) manual is NAVSHIPS 900,754

general description from manual

fsa-01.jpg (62050 bytes)

FSB - frequency shift keyer

FSB spec sheets

 mixes 200 kc FSK signal with xmtr oscillator input 
 1.0 to 6.7 mc, 2w output to xmtr 
 FSB (CYV-35062) manual is NAVSHIPS 900,928
 info in NAVPERS 10190-A (ET2 training manual vol. 1)
(excerpt thanks to Google Books)

 

fsb-01.jpg (56751 bytes)

FSD FSK facsimile transmitting keyer - Spec Sheets


MX-1262/URT
(CBOT-23510)
FSK Coupling Adapter for TBL transmitter connects TBL to FSA, FSB, KY-30/GRT, KY-58/GRT, KY-75/SRT or similar keyer

section 1 couples xmtr master oscillator to FSK keyer.

section 2 couples FSK keyer output to xmtr's first IPA tubes 

NAVSHIPS 91885

manuf by American Electronic Laboratories Inc.

CYV-23510 FSK Coupling Adapter for TBK & TBM transmitters This is a small unit installed into a TBK (or TBM) transmitter to allow easy hookup of an external frequency shift keyer. Has two tuned RF transformers, one to couple the TBK osc to the 75 ohm FSK input, and the other to couple the 75 ohm FSK output to the TBK IPA. Controls are a common tuning knob for both transformers plus a switch to bypass the FSK. NAVSHIPS 900,206

manuf by Press Wireless